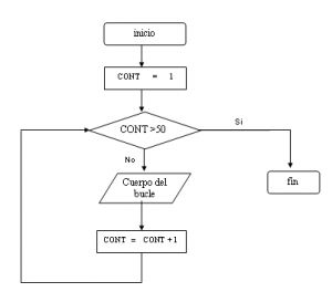
CUESTEONARIOOnline version REALIZAR UN CUESTEONARIO CON IMAGEN by Jaime macias lopez 1 que es un algoritmo a se utiliza para resolver algun problema b sirve para imprimir 2 para que sirve la prueva de escritorio a imprimir b comprovacion de algun problema 3 el diagrama de flujo en que nos ayuda a para la resolucion de un problema b para restablecer 4 que es acumulador a la variable que se iguala a19 b la variable que se iguala a 0 5 ¿que condicion se utiliza en la estructura selectiva simple? a si-entonces b no entonces 6 ¿que incorpora la estructura selectiva doble? a variable b condicion 7 nombre y apellido a que variable pertenese? a entera b cadena de caracteres 8 ¿la estructura de un algoritmo es? a entrada ,proceso y salida b proceso y fin 9 ejemplo de una variable de tipo real? a apellido b peso 10 que instruccion se utiliza en el siclo while? a while(condicion) do imprimir a b b)imprimir 11 la estructura selectiva multiple sirve para? a aplicaciones b permite ejecutar 3 o mas acciones 12 el algoritmo se da atraves de? a la solucion b el planteamiento 13 ¿la estructura repetitiva sirve para? a desordenar b se repite tantas veses hasta solucionar el problema 14 el siclo for se utiliza? a examinar b comienza en valor inicial concluye en valor final 15 el algoritmo se da atraves de? a la solucion b el planteamiento 16 ¿la estructura repetitiva sirve para? a se repite tantas veses hasta solucionar el problema b desordenar 17 la instruccion next se ocupa para? a analizar b para regresar el siclo 18 la estructura repetitiva while explica? a antes de iniciar pregunta si va ejecutar la accion b comprender 19 que es una constante? a un valor que nunca cambia b una variable 20 la instruccion next se ocupa para? a analizar b para regresar el siclo